Wyślij do nas e-mail

sdepochwater@hotmail.com

Aktualności

Charakterystyka i klasyfikacja zasuw


Zawór zasuwowy, znany również jako zawór zasuwowy, to zawór, którego częścią otwierającą i zamykającą jest płyta zasuwowa i która jest napędzana przez trzpień zaworu w celu poruszania płyty zasuwowej w górę i w dół.


Charakterystyka zasuw


1) Zalety zasuw: Niski opór przepływu płynu; Moment obrotowy wymagany do otwierania i zamykania jest niewielki. Kierunek przepływu medium jest nieograniczony. Podczas otwierania i zamykania nie występuje zjawisko uderzenia wodnego. Struktura kształtu jest stosunkowo prosta, a proces produkcyjny jest lepszy.


2) Wady zasuw: Mają stosunkowo duże wymiary zewnętrzne i wysokość montażu oraz wymagają znacznej przestrzeni montażowej. Podczas procesu otwierania i zamykania na powierzchni uszczelniającej występuje względne tarcie, co powoduje znaczne zużycie. Nawet w wysokich temperaturach jest podatny na zarysowania. Zasuwy mają zwykle dwie powierzchnie uszczelniające, co powoduje pewne trudności w obróbce, szlifowaniu i konserwacji.


Zasuwy mają szeroki zakres zastosowań. Zwykle stosuje się go do rurociągów wodociągowych o średnicy nominalnej DN50 i większej.



Klasyfikacja zasuw


Zasuwy można klasyfikować według metod łączenia na zasuwy gwintowane, zasuwy kołnierzowe i zasuwy spawane. Ze względu na cechy konstrukcyjne można je podzielić na płyty zasuwowe równoległe i płyty zasuwowe klinowe. W oparciu o budowę trzpienia zaworu można je podzielić na zasuwy z trzpieniem podnoszącym i zasuwy z trzpieniem ukrytym (trzpieniem obrotowym).




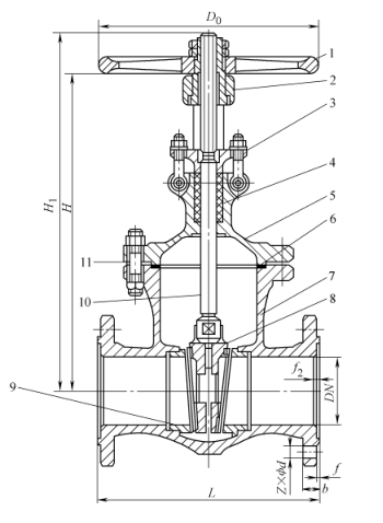
1) Zasuwa z podwójną zasuwą równoległą z otwartym trzpieniem: Zawór z podwójną zasuwą z równoległym trzpieniem i otwartym trzpieniem pokazano na rysunku 1. Jego zasuwa składa się z dwóch symetrycznych i równoległych tarcz. Kiedy zasuwa opada, górny klin umieszczony na dole zasuwy powoduje, że obie zasuwy rozszerzają się na zewnątrz i mocno dociskają do gniazda zaworu, szczelnie zamykając w ten sposób zawór. Kiedy brama się podnosi, klin odłącza się od dysku. Gdy dysk podniesie się na określoną wysokość, klin zostaje podniesiony przez występy na dysku i unosi się wraz z bramą. Zawór ten ma prostą konstrukcję. Obróbka, szlifowanie i konserwacja powierzchni uszczelniającej są prostsze niż w przypadku zasuwy klinowej. Jednakże jego skuteczność uszczelniania jest stosunkowo słaba. Nadaje się do mediów o ciśnieniu nie przekraczającym 1,0 MPa i temperaturze nie przekraczającej 200℃.



Rysunek 1: Podwójna zasuwa z równoległym trzpieniem wznoszącym się


1. Pokrętło 2- nakrętka trzpienia zaworu 3- trzpień zaworu 4 - dławnica 5 - uszczelka 6 - pokrywa zaworu

7 - Uszczelka 8 - Pierścień uszczelniający 9 - Korpus zaworu 10 - Zasuwa 11 - Klin górny


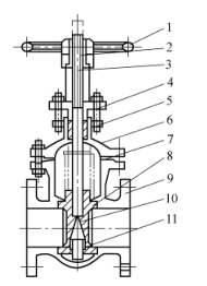
2) Zasuwa klinowa z ukrytym trzpieniem: Jak pokazano na rysunku 2, powierzchnia uszczelniająca tego zaworu jest nachylona i tworzy kąt. Im wyższa temperatura medium, tym większy kąt. Płyty zasuw klinowych dzielą się na płyty pojedyncze, płyty podwójne i płyty elastyczne, jak pokazano odpowiednio na rysunkach 2a, b i c. Obróbka, szlifowanie i konserwacja płyt zasuw klinowych jest bardziej skomplikowana niż w przypadku płyt równoległych, ale mają one lepszą skuteczność uszczelniania.


Rysunek 2 Zasuwa klinowa z ukrytym trzpieniem


a) Pojedyncza płyta klinowa b) Podwójna płyta klinowa c) Elastyczna płyta klinowa


1. Pokrętło 2. Wskaźnik 3. Pokrywa 4. Dławnica 5. Uszczelnienie 6. Pokrywa zaworu

7- Trzpień zaworu 8 - Nakrętka trzonka zaworu 9, 12 - Pierścień uszczelniający 10 - Korpus zaworu 11 - Płyta zalewowa 13 - Uszczelka


Zasuwę elastyczną pokazano na rysunku 3. Ma zalety prostej konstrukcji i niezawodnego użytkowania oraz może powodować niewielkie odkształcenie sprężyste, co zwiększa szczelność zamknięcia.



Rysunek 3 Elastyczna zasuwa


1. Pokrętło 2- nakrętka trzonka zaworu 3 - dławnica 4 - uszczelka 5 - pokrywa zaworu 6 - uszczelka

7- Korpus zaworu 8 Płyta zalewowa 9 - Pierścień uszczelniający 10 - Trzpień zaworu 11 - Śruba łącząca


W zasuwie z trzpieniem wznoszącym gwint trzpienia zaworu pasuje do nakrętki tulejowej wyposażonej w pokrętło. Dolny koniec trzpienia zaworu ma kwadratową główkę, która jest osadzona w płycie zasuwy. Kiedy pokrętło jest obracane, trzpień zaworu i płyta zasuwy poruszają się w górę i w dół. Podczas otwierania trzpień zaworu wystaje z pokrętła. Zaletą jest to, że stopień otwarcia zaworu można ocenić na podstawie wydłużonej długości trzpienia zaworu, a trzpień zaworu nie ma bezpośredniego kontaktu z transportowanym medium. Wadą jest to, że zawór ma dużą wysokość otwarcia, a w miejscu montażu musi być wystarczająco dużo miejsca, aby trzpień zaworu mógł wystawać na zewnątrz. Podczas instalacji na miejscu należy zwrócić uwagę na ten punkt. Gwint zewnętrzny trzpienia zaworu zasuwowego z trzpieniem ukrytym pasuje do gwintu wewnętrznego osadzonego w zaworze. Dlatego też, gdy pokrętło jest obracane, trzpień zaworu obraca się, powodując ruch zasuwy wewnątrz zaworu w górę i w dół, ale trzpień zaworu nie może poruszać się w górę i w dół. Zasuwa z ukrytym trzpieniem zajmuje mniej miejsca podczas instalacji. Transportowane medium ma bezpośredni kontakt z trzpieniem zaworu i na jego podstawie nie można ocenić stopnia otwarcia zaworu. Niezależnie od tego, czy jest to zasuwa z trzpieniem wznoszącym, czy też zasuwa z trzpieniem niewznoszącym, zasuwa musi być zamontowana poziomo. Trzpień zaworu powinien być skierowany pionowo do góry i nie powinien być nachylony. Surowo zabrania się montażu trzpienia zaworu w dół.



Powiązane wiadomości
Zostaw mi wiadomość
X
Używamy plików cookie, aby zapewnić lepszą jakość przeglądania, analizować ruch w witrynie i personalizować zawartość. Korzystając z tej witryny, wyrażasz zgodę na używanie przez nas plików cookie. Polityka prywatności
Odrzucić Przyjąć